Sonderrelais

zu den Bestellvarianten

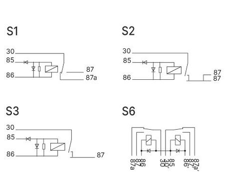
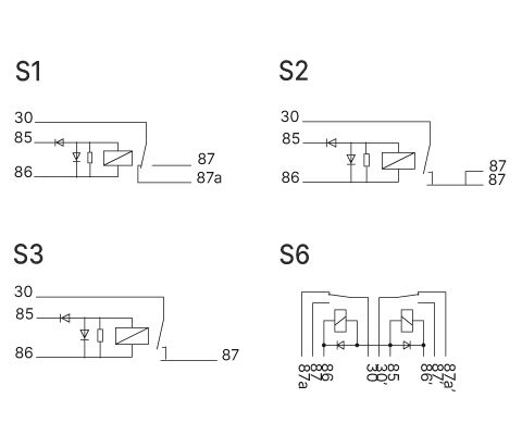
Sonderreleais sind sämtliche Relais, die nicht Bestandteil unseres Standardprogramms sind. Exemplarisch zeigen wir einige Sonder­relais, die mit unterschiedlichen Zusatzbeschaltungen, wie z.B. Entkoppeldiode und/oder Freilaufdiode, geordert werden können. Weitere Relais realisieren wir auf Anfrage.

Technische Details

Mechanische Eigenschaften

Schutzklasse IP53
Gehäusematerial PA66GF30

Allgemeines

Temperaturbereich -40 bis +85°C

Kennzeichnungen

Bestellvarianten
Bestell-Nr.Bezeichnung
1.023.154.00
W 12V 20A, Wechsler, Freilaufentkoppeldiode, Verbindung S1
1.023.180.01
DR 12V 2x 10A, DoppelRelais, Standard, Verbindung S6
1.023.182.01
DR 12V 2x 10A, Doppelrelais, Freilaufdiode, Verbindung S6
1.023.280.01
DR 24V 2x 10A, Doppelrelais, Standard, Verbindung S6
1.023.282.01
DR 24V 2x 10A, Doppelrelais, Freilaufdiode, Verbindung S6

Field Application Engineering / Support Team

Sie haben Fragen zu unseren MRS Produkten? Unser Field Application Engineering / Support Team unterstützt Sie gerne.

MRS Online-Shop

MRS Online-Shop Privatkunden und E-Mobility

Online-Shop

Hier finden Sie unsere frei programmierbaren Steuerungen und Relais sowie unsere robusten und zuverlässigen MCharger Ladelösungen.


Kontakt

Sie möchten mehr erfahren oder suchen ein bestimmes Produkt?

Dann kontaktieren Sie uns gerne.

 

Kontaktformular Clear

Kontaktformular Clear